Buscar un producto :
Nuevo producto
Compartimentación de ERP (Establecimientos Receptores de Público) e IGH (Edificios en Altura).
Dispositivos de Seguridad Actuados (DAS) autocontrolados o controlados a distancia, destinados a restaurar las características de resistencia al fuego de las paredes o pisos atravesados por un conducto en caso de incendio y para aislar el área del desastre.
Uso en el interior de edificios.
Posibilidad de montaje en todas las posiciones (eje de pala horizontal o vertical).
Gama de compuertas que pueden instalarse a una distancia inferior a la mínima impuesta por la norma de ensayo europea y pueden instalarse en pared horizontal o vertical (50 mm para compuertas rectangulares).
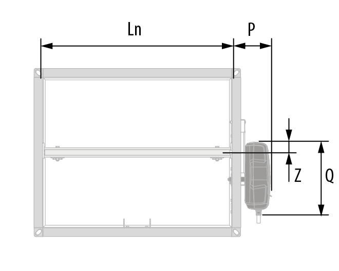
Descripción
Dimensiones
Documentación
Precio Público
Software
Referencias

|
Saliente de la hoja |
||||||||||
|
Mmm) |
150 |
200 |
250 |
300 |
350 |
400 |
450 |
500 |
550 |
600 |
|
y |
2 |
27 |
52 |
77 |
102 |
127 |
152 |
177 |
202 |
227 |
|
incógnita |
- |
- |
- |
- |
- |
- |
- |
17 |
42 |
67 |

|
CULTO |
||||||
|
yo |
H ≥ 400 |
|||||
|
Ministerio de Defensa Popular |
BOBI |
META UNIQ |
Ministerio de Defensa Popular |
BOBI |
META UNIQ |
|
|
PAG |
101 |
107 |
107 |
101 |
107 |
107 |
|
Q |
122 |
136 |
136 |
123 |
290 |
290 |
|
O |
61 |
75 |
75 |
28 |
27 |
27 |
|
Tipo de montaje |
Material |
Dimensiones |
|
Losa/pared maciza |
Hormigón armado/hormigón celular |
(Largo + 100 mm) x (Alto + 100 mm) |
|
Paredes flexibles |
cartón de yeso |
(Largo + 100 mm) x (Alto + 100 mm) |
|
Muros flexibles + IFW |
placa de yeso A o F |
(Largo + 65 mm) x (Alto + 65 mm) |
|
Muros flexibles (sellado con yeso) |
placa de yeso A o F |
(Largo + 100 mm) x (Alto + 100 mm) |

|
Saliente de la hoja |
||||||||||
|
Mmm) |
150 |
200 |
250 |
300 |
350 |
400 |
450 |
500 |
550 |
600 |
|
y |
2 |
27 |
52 |
77 |
102 |
127 |
152 |
177 |
202 |
227 |
|
incógnita |
- |
- |
- |
- |
- |
- |
- |
17 |
42 |
67 |

|
CULTO 1S |
||||||
|
yo |
H ≥ 200 |
|||||
|
Ministerio de Defensa Popular |
BOBI |
META UNIQ |
Ministerio de Defensa Popular |
BOBI |
META UNIQ |
|
|
PAG |
101 |
107 |
107 |
101 |
107 |
107 |
|
Q |
122 |
136 |
136 |
123 |
290 |
290 |
|
O |
61 |
75 |
75 |
28 |
27 |
27 |
|
Tipo de montaje |
Material |
Dimensiones |
|
Losa/pared maciza |
hormigón celular |
(L+65 a 80 mm) x (Al+65 a 80 mm) |
|
Paredes flexibles |
cartón de yeso |
(L+65 a 80 mm) x (Al+65 a 80 mm) |
|
Paredes flexibles |
cartón de yeso |
(L+65 a 80 mm) x (Al+65 a 80 mm) |
Especificaciones detalladas
Páginas de catálogo de texto (CT)
Páginas del catálogo - Otro
Precio de tarifa pública
Páginas de catálogo de precios (CP)
Instrucciones de instalación
Instrucciones de instalación (NT)
Certificados de extracción de humo / fuego
Informe de clasificación de incendios (PVFEU)
Certificación CE de extracción de humos (CCCE)
Certificados de desempeño / medioambiente
Asistencia con recetas
Documentos comerciales
Folleto comercial (FCOM)
Especificaciones detalladas
Páginas de catálogo de texto (CT)
Páginas del catálogo - Otro
Precio de tarifa pública
Páginas de catálogo de precios (CP)
Instrucciones de instalación
Instrucciones de instalación (NT)
Certificados de extracción de humo / fuego
Informe de clasificación de incendios (PVFEU)
Certificación CE de extracción de humos (CCCE)
Certificados de desempeño / medioambiente
Asistencia con recetas
Documentos comerciales
Folleto comercial (FCOM)
AEROPORT TERMINAL 1 - SAINT EXUPERY - LYON
Aeropuertos
69 - Ródano
Productos instalados:
CLUB MED ALPES D'HUEZ
Residencias hoteleras
38 - Isère
Productos instalados:
ECOLE ROCKEFELLER
Educación especializada
69 - Ródano
Productos instalados:
GROUPE SCOLAIRE - WAVRIN
Escuelas primarias
59 - Norte
Productos instalados:
HANGAR 108
Administraciones
76 - Sena Marítimo
Productos instalados:
HOPITAL CARDIO VASCULAIRE PULMONAIRE - LILLE
Hospitales
59 - Norte
Productos instalados:
PARKING ST ANTOINE (787 PLACES) - LYON
Aparcamientos terciarios
69 - Ródano
Productos instalados: